КаталогПассивные компонентыФерриты, индуктивности, фильтрыEMI-ферритыСкладные ферриты для круглых и плоских кабелейTRCN-28-16-13

TRCN-28-16-13, Split ferrite  diam. ‹=  16 mm 105 Ohm @ 100 MHz, Kitagawa

Арт: 158-55-440
TRCN-28-16-13, Split ferrite  diam. ‹=  16 mm 105 Ohm @ 100 MHz, Kitagawa
  • добавить в избранное
  • Арт: 158-55-440
  • Наименование: TRCN-28-16-13
  • Производитель: Kitagawa
  • Доп.наименование: Split ferrite  diam. ‹=  16 mm 105 Ohm @ 100 MHz
  • Склад:
    Изображение товара дано только в качестве иллюстрации. См. спецификацию продукта (pdf)
    Заказать Цены указаны без НДС

    Split ferrite diam. ‹= 16 mm 105 Ohm @ 100 MHz Семейство Разъемный ферритовый сердечник для круглог
    Устраняют высокочастотные шумы
    Необходимы для обеспечения соответствия стандартам EMV
    Монтаж с использованием нейлоновых зажимов
    Могут быть легко установлены позднее
    Вариант для самоклеящегося плоского кабеля Технические параметры
    • Manufacturer: Kitagawa
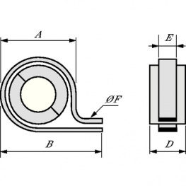
    • A: 32 мм
    • B: 51.5 мм
    • E: 12.6 мм
    • F: 4.8 мм
    • d: 13 мм
    • Цвет: черный
    • Частота: 100 МГц
    • Импеданс: 105 Ω
    • Защитный кожух: Without
    • Материал корпуса: PA 66, UL94-V2
    • Для размера кабеля: Ø ≤16 mm
    • Указание по заказу: Комплект поставки включает: 1 пара с фиксирующими зажимами
    • Материал сердечника: K32
    • Полное эл.сопротивление при 25 МГц: 45 Ω
    • Полное эл.сопротивление при 100 МГц: 105 Ω