КаталогЭлектромеханические компонентыПлаты, наборы разработчикаЛабораторные платы, производство платАксессуары для платVMCG-135-MPBK-K

VMCG-135-MPBK-K, Card guide Nylon 6/6 Grey Grey, Essentra (former Richco)

Арт: 148-80-134
VMCG-135-MPBK-K, Card guide Nylon 6/6 Grey Grey, Essentra (former Richco)
  • добавить в избранное
  • Арт: 148-80-134
  • Наименование: VMCG-135-MPBK-K
  • Производитель: Essentra (former Richco)
  • Доп.наименование: Card guide Nylon 6/6 Grey Grey
  • Склад:
    Изображение товара дано только в качестве иллюстрации. См. спецификацию продукта (pdf)
    Заказать Цены указаны без НДС

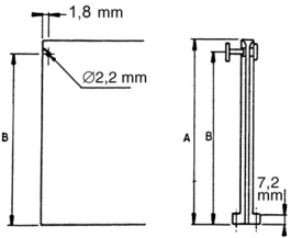
    Card guide Nylon 6/6 Grey Grey Семейство Направляющая платы с фиксатором
    Фиксация защелкой
    Резьбовое крепление с отверстиями M3, с-с 12 mm
    Полиамид Технические параметры
    • Manufacturer: Essentra (former Richco)
    • A: 135 мм
    • B: 126.5 мм
    • Цвет: бежевый
    • Материал: Нейлон 6/6